Zuzana Juhásová
Ivana Šmatláková
TEÓRIA DETEKCIE SIGNÁLOV A VNÍMANIE
TEÓRIA DETEKCIE SIGNÁLOV
Procesy rozhodovania v detekcii
Pojem absolútneho prahu sa objavuje na začiatku devätnásteho storočia. Jeho podstatou je myšlienka, že absolútny prah je pevnou hranicou stanovenou vlastnosťami zmyslov. Nad týmto prahom sú ľudia schopní podnet vnímať, ale pod ním to už nie je možné. Táto zdanlivá vlastnosť “všetko alebo nič” naznačuje, že by prah mal byť definovaný ako hodnota podnetu, ktorá je vnímaná v 100 percentách prípadov. Dôvodom, prečo je prah v skutočnosti definovaný reakciou iba na 50 percent podnetov, je to, že pri ktoromkoľvek pokuse nemusia byť všetky podmienky optimálne. Zmyslové orgány nemusia dokonale fungovať, môže kolísať pozornosť pokusnej osoby a tak podobne. Pojem absolútneho prahu ako pevnej hranice znamená, že subjekt v pokuse podáva správu, či podnet prekročil prah, alebo nie. Bližší výskum týchto faktorov však ukazuje, že pokusná osoba nepodáva informácie jednoduchým spôsobom, či podnet prekročil povinnú hranicu, ale na miesto toho prevádza zložité rozhodovania, či je zmyslový vnem spôsobený daným podnetom, alebo len chybou v jeho senzorickom systéme.
Problémy s prahmi
Vedci sú si už dlho vedomí problémov, ktoré sa úzko spájajú s určovaním prahov. Aby sme tento problém priblížili, predpokladajme teda, že chceme určiť pravdepodobnosť, že pokusná osoba zaznamená slabý sluchový podnet. Subjekt je v každom jednotlivom opakovaní tejto pokusnej situácie vystavený pôsobeniu podnetu a má určiť, či daný zvuk počul alebo nie. Predpokladajme, že sledovaný subjekt udával, že zo 100 opakovaní počul zvuk len v 89 prípadoch. V prípade, že subjekt
vie, že podnet bude vysielaný v každom jednotlivom opakovaní, a pretože si sám nie je istý, či má v každom jednotlivom opakovaní odpovedať “áno” alebo “nie”, môže nevedome odpovedať skôr “áno”, aby svojimi schopnosťami spravil dobrý dojem na experimentátora. Aby sa vedci vysporiadali aj s týmto problémom, zaviedli sa tvz. falošné pokusy- pri ktorých nie je vysielaný podnet, na ktorý by mala pokusná osoba odpovedať. Pomocou tohto systému sa dá zistiť, ako asi bude subjekt reagovať.Nasledujúce výsledky sú typické pre výkon pokusnej osoby v experimente, ktorý zahŕňal niekoľko stoviek opakovaní, z ktorých 10 percent boli falošné pokusy.
|
ODPOVEĎ |
| Áno Nie Zásah |
|
Pokusy s podnet. 0,89 0,11 |
|
Falošné pokusy 0,52 0,48 Falošné poplachy |
Tieto výsledky predstavujú pomer medzi počtom odpovedí “áno” alebo “nie” v prípadoch, kedy bol podnet vysielaný alebo nebol. Napríklad v 89 percentách opakovaní, v ktorých bol podnet vysielaný, povedal subjekt “áno”. Hovoríme tu o pravdepodobnosti zásahu. Pravdepodobnosť je merítkom prahu. V prípade, že má hodnotu 0,5= 50 percent, je intenzita podnetu rovnaká ako prah, v prípade, že je vyššia než 0,5- je nad prahom. Odpoveď “áno” v pokusoch, kedy nebol vysielaný podnet, sa označuje ako falošný poplach v tomto príklade je pravdepodobnosť falošného poplachu 0,52. Tento výsledok nám ukazuje, že aj podnety s nulovou hodnotou môžu prekročiť absolútny prah, čo sa zdá byť v rozpore s teóriou absolútneho prahu.
Úvahy o absolútnom prahu sa stávajú ešte viac problematickými, ak prevádzame pokusy, v ktorých meníme percento falošných pokusov. Predpokladajme, že pokusná osoba testovaná niekoľko dní rovnakým podnetom, ale percento falošných pokusov sa zo dňa na deň mení. Výsledky experimentu, v ktorom sa menil počet falošných pokusov od 10 do 90 percent sú znázornené v tabuľke:
|
PERCENTO FALOŠ. POK. ZÁSAHY FALOŠNÉ POPLACHY |
|
10 0,89 0,52 |
|
30 0,83 0,41 |
|
50 0,76 0,32 |
|
70 0,62 0,19 |
|
90 0,28 0,04 |
Tieto údaje ukazujú, že počet rovnako ako zásahov, tak aj falošných poplachov sa znižuje so stúpajúcim pomerom falošných pokusov. Predpokladáme, že čím viac je falošných pokusov, tým viac subjekt očakáva pokusy bez podnetov a v tejto súvislosti má sklon k odpovedi “nie”. Pokiaľ teda môže mať očakávanie vplyv na pravdepodobnosť zásahov, môže zrejme ovplyvňovať aj absolútny prah. Znovu sú teda tieto nálezy v protiklade s teóriou prahu ako pevnej hranice a odporuje myšlienke, že sa jedná o limit, určený iba vlastnosťami zmyslov. Výsledky, ako sú napr. tieto, viedli k vytvoreniu iných možných teórií, vysvetľujúcich spôsob, akým ľudia detekujú zmyslové podnety.
Teória detekcie signálov predpokladá, že v senzorickom systéme je vždy prítomná náhodná aktivita, čiže šum a že vtedy neexistuje nulový podnet. Pokusná osoba je v pokuse vždy v situácií, kedy má rozhodnúť, či je pravdepodobnejšie, že zmyslový vnem je spôsobený vysielaným podnetom alebo len šumom v jeho senzorickom systéme. Z toho vyplýva, že pokus, v ktorom úlohou je detekovať slabé podnety vyžaduje zapojenie rozhodovacích procesov miesto prostého podávania informácií, či bola alebo nebola prekročená zmyslová hranica.
Na rozhodovanie majú vplyv dva faktory:
Prvým faktorom je citlivosť pokusnej osoby k podnetu- ako dobre vidí slabé svetlo, alebo počuje slabý tón.
Druhým faktorom je merítko subjektu- nakoľko je ochotný povedať “áno”.
Predpokladá sa, že citlivosť subjektu je ovplyvnená intenzitou podnetu, zatiaľ čo merítko je ovplyvnené očakávaním. Najmä merítko pokusnej osoby bude nižšie, v prípade že podnet očakáva, než v prípade, kedy ho neočakáva.
Vzhľadom k teórií detekcie signálov môžeme oddeliť faktor citlivosti od faktoru merítka tak, že graficky znázorníme pravdepodobnosti zásahu a falošného poplachu, kt
oré sú získané pomocou experimentu.

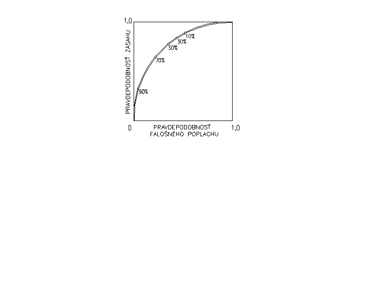
Na ľavom grafe je znázornený vzťah medzi pravdepodobnosťou zásahu a falošného poplachu. Všimnite si, že bod na krivke, ktorý leží najviac vpravo zodpovedá údajom získaným v prípade, že zo všetkých opakovaní bolo 10 percent falošných. Tento bod sa zhoduje s tabuľkou , zodpovedá pravdepodobnosti zásahov 0,89 vo vertikálnom smere a pravdepodobnosti 0,52 falošného zásahu v horizontálnom smere. V prípade, že zobrazíme všetkých päť bodov, vznikne zrozumiteľný obraz. Všetk
y body ležia na symetrickej okrúhlovitej krivke. Každý bod na tejto krivke zodpovedá rôznym výsledkom- rôznym pravdepodobnostiam zásahu a falošného poplachu, ale tieto výsledky zodpovedajú iba faktoru merítka subjektu, a nie jeho citlivosti. To znamená, že keby sa prevádzal iný experiment s použitím rovnakého signálu, s inými percentami falošných poplachov, líšila by sa pravdepodobnosť zásahov a falošných poplachov od výsledkov v tabuľke, ale ich priesečník by sa nachádzal niekde na tejto krivke. Táto krivka sa nazýva krivka funkčnej charakteristiky príjemcu- krivka FChP, pretože určuje funkčnú charakteristiku osoby, ktorá prijíma signál.Body na jednej krivke FChP znázorňujú zmeny merítka, zatiaľ čo rôzne krivky FChP znázorňujú zmeny citlivosti. Body, ktoré sú nanesené do pravého grafu, zodpovedajú určitej intenzite signálu. V prípade, že je signál silnejší, je aj citlivosť vyššia a oblúk krivky FChP sa viac zakrivuje. Ak je signál slabší, je citlivosť menšia a krivka FChP sa približuje k uhlopriečke. Zakri
venie krivky je vtedy určené citlivosťou subjektu a miera, ktorá sa používa na zakrivenie sa nazýva d´. Pravý graf znázorňuje FChP pre rôzne hodnoty d´, s rozsahom od 0 po 2. Z toho vyplýva, že pravdepodobnosti zásahov a falošných poplachov môžu byť prevedené na hodnotu d´, ktorá určuje citlivosť subjektu na určitý signál. Tým, že sa bude meniť pomer falošných pokusov, existuje vplyv na počet zásahov a falošných poplachov pri fixnom signále, avšak meniace sa pravdepodobnosti sa budú nachádzať na krivke FChP, odpovedajúce určitej hodnote d´.Z hľadiska tohto poňatia detekcie teórie signálov sa musí zmeniť pohľad na meranie prahu, ktoré sa získali v experimentoch. Vzhľadom k teórií detekcie signálov je prah definovaný ako intenzita podnetu, pri ktorom má d´ hodnotu 1. Však aj staršie metódy určovania prahu zostávajú rovnako vhodnými ukazovateľmi citlivosti.
Teória detekcie signálov ponúka psychofyzikom dve odlišné, ale vzájomne sa doplňujúce výhody. Prvou výhodou je, že pomocou postupov teórie detekcie signálov je možné ujasnenie presných informácií, ktoré obsahujú podnety a dá sa určiť aj ich množstvo.
Napríklad vo vizuálnych podnetoch informácia zahŕňa priestorové rozdelenie svetla z rôznych častí podnetu a zobrazuje, ako sa toto rozdelenie mení v priebehu času. Charakterizovanie podnetu nám umožňuje určiť výkonnosť, s ktorou ľudia používajú potenciálnu informáciu. Pri definícií podnetovej informácie sa dá špecifikovať horný teoretický limit pri pozorovanom výkone. Poznaním, aký môže byť horný teoretický lim
it môžeme porovnávať výkonnosť pozorovanej osoby s ideálnou, ktorá je schopná použiť kompletnú podnetovú informáciu. Ak sa stane, že sa informácia stratí v oku, alebo v inej časti vizuálneho systému, čo sa obyčajne stáva, môže byť výkon menší ako pri ideálnom človeku.Druhou výhodou teórie detekcie signálov pre psychofyzikov je jasné uznanie toho, že miera vnímavosti je ovplyvnená motivačným stavom rovnako ako aj senzorickými kapacitami skúmaného človeka.
Podnetové prahy
Fyzikálne ohodnotenie veľkosti podnetu znamená, že podnet sa chápe ako hmotné kontínium. Dolný prah podnetu sa vyznačuje najnižšou hodnotou podnetu- teda jeden koniec kontinua, na ktorý ešte organizmus reaguje pocitom. Analogicky je horný prah podnetu lokalizovaný na hornom konci kont
inua a znamená tak najvyššiu hodnotu podnetu, ktorá ešte môže spôsobovať pocit. Týmto podnetovým prahom zodpovedá na strane subjektu citlivosť organizmu. Definujeme ju ako schopnosť organizmu registrovať jemné podráždenia. Vzťah medzi citlivosťou organizmu a podnetovým prahom je nepriamo úmerný: čím väčšia je schopnosť vnímať jemné podráždenia- čím väčšia je citlivosť, tým je podnetový prah nižší.Podnety, ktoré nedosahujú kontinuita, sú podprahové a tie, ktoré ich presahujú, sú nadprahové. Na nadprahové reaguje organizmus väčšinou bolesťou, podprahové na organizmus síce tiež pôsobia, ale jedinec si ich neuvedomuje, pretože nedochádza k vzniku pocitu.
Najvyšší a najnižší- horný a dolný podnetový prah je absolútnym podnetovým prahom. Do psychológie bol však zavedený ešte jeden pojem- relatívny podnetový prah, ktorému na strane subjektu zodpovedá rozdielová citlivosť, t.j. schopnosť organizmu vnímať čo najmenšie rozdiely medzi podnetmi. Aj tu platí, že čím je relatívny podnetový prah nižší, tým je relatívna citlivosť vyššia. V súvislosti s týmito poznatkami ešte stále vzniká v experimentálnej psychológií mnoho hypotéz a štúdií.
VNÍMANIE
Všetko, čo pôsobí na naše zrakové orgány,nazývame podnetmi.Pôsobenie podnetov na zmyslové orgány je podráždenie
,ktoré vyvoláva v nervovom tkanive receptora vzruch.Pocit
Pocit prináša informáciu o jednotlivých vlastnostiach predmetov a javov.Presnejšie povedané je odrazom jednotlivých vlastností predmetov a javov vonkajšieho sveta a vnútorných stavov organizmu,ktoré bezprostredne pôsobia na naše zmyslové orgány. Je to najelementárnejší zážitok,ktorý vzniká ako dôsledok podráždenia niektorého receptora.
Vnem
Vnem je zložitejší poznávací proces. Je to celostný a bezprostredný obraz predmetov a javov sprostredkovaný zmyslami.Vyznačuje sa predmetnosťou,celostnosťou, štruktúrnosťou
a konštantnosťou.
Pociťovanie Vnímanie
Pociťovanie je príjem izolovanej ( jedinej elementárnej) vlastnosti, ktorá je ďalej nedelitelná a sprostredkúva sa pri ňom kontakt me
dzi organizmom a prostredím.Pričom vnímanie je celkový obraz predmetov a javov a predstavuje vedomú skúsenosť o objektoch a vzťahoch medzi objektami.
Pociťovanie je jednoduhší fyziologický proces a vnímanie je už komplexnou psychologickou skúsenosťou.
Ako vnímame svet
Z diaľky počujeme ruch veľkomestskej premávky a kútikom oka sledujeme dianie na trhovisku.Vnímame farbu a vôňu ruže.Na ulici do nás sem-tam ktosi strčí,zazrieme známu tvár a prihovoríme sa.Je to vlastne všetko také jednoduché.Vidíme,počujeme,ohmatávame, ochutnávame,cítime vôňu.Z toho všetkého sa skladá svet okolo nás a my ho vnímame celkom samozrejme.Informácie o okolitom svete nám sprostredkúvajú teda naše zmysly.Každý z nich je naladený tak,aby mohol vnímať určitý rozsah podnetov.
Pod pojmom vnímanie chápeme výber informácií z vonkajšieho ( alebo z vnútorného ) prostredia. Ide tu o vstup informácií do zmyslových systémov človeka a o ich spracovanie v ľudskom mozgu.Obraz vonkajšieho sveta preniká do vnútorného sveta očakávaní,nádejí,obáv, potrieb,spomienok a predstáv. Farebné škvrny, prichádzajúce do oka z ruže prostredníctvom svetelných vĺn, sa menia na lupienky,kvet…
Svet,ktorý vnímame,je preplnený množstvom podnetov.Neustále sme bombardovaní toľkými podnetmi,že nie všetky sme schopní vnímať. Preto väčšinou vnemy selektujeme,i keď existujú také podnety,ktoré vnímame vždy,nezávisle na tom,čo práve robíme. Proces,pomocou ktorého podnety vyberáme, sa nazýva selektívna pozornosť.Zameriavame ju fyzikálnym nasmerovaním senzorických receptorov na jednotlivé podnety.
Prečo si na trhovisku,kde sme obkolesení kvantom podnetov,všimneme práve ružu? Nie vždy si ju všimneme. Ak však chceme priateľovi blahoželať k narodeninám, vnímame kvety. Naše vnímanie je teda výberové a zameriava,nastavuje sa tak,aby vonkajší objekt bol v zhode s vnútorným nastavením.Nastavenie a výberovosť vnímania sú závislé od osobnosti a jej momentálneho stavu.V pokusoch,kde mali skúmané osoby porovnávať rovnako veľké papierové kolieska a mince,preceňovali veľkosť mincí,
vnímali ich ako väčšie.Vnímaná veľkosť podnetu môže byť zrejme ovplyvnená i hodnotou,ktorá sa podnetu prisudzuje.Podobne je vnímanie ovplyvnené potrebami organizmu,záujmami,osobnostnými činiteľmi,či sugestívnym vplyvom kolektívu,ktorý môže jednotlivca dokonale presvedčiť,že napr. z dvoch rovnakých čiar je jedna dlhšia.Zdrojom vnímania je bezpochyby najmä vonkajšia aktivita. Bez zvukových vĺn by sme nepočuli,bez svetelných vĺn nevideli.
Rozhodujúce množstvo informácií človek prijíma vizuálne-čiže zrakom
( okolo 80 % ). Za ním nasleduje sluch a až potom ostatné zmysly.Zrak je preto najdôležitejším informačným zdrojom a slepota sa pokladá za najhlbšie postihnutie vnemového života človeka.
Funkcie vnímania
V prípade,keď zrakom určujeme o aké objekty sa je
dná,hovoríme o procese tvarového rozpoznávania. Ak však zrakom zisťujeme,kde sa objekty nachádzajú, hovoríme už o priestorovej lokalizácii,pomocou ktorej sme schopní pohybovať sa v priestore.Aby sme vedeli,kde v priestore sa objekty nachádzajú,musíme najskôr odlíšiť jeden objekt od druhého a od ich pozadia.Až potom je náš percepčný systém schopný určiť polohu objektu v trojrozmernom svete , vrátane jeho vzdialenosti od nás a jeho pohybu.
Obraz,ktorý je premietný na našu sietnicu,je vlastne mozaikou rôznych farier a jasov. Percepčný systém je schopný usporiadať túto mozaiku do formy určitých objektov, odlíšených od pozadia.Práve tento spôsob usporiadania je predmetom záujmu tvarovej psychológii ( Gestaltpsychologie ),ktorá vznikla začiatkom 20.storočia v Nemecku.Zvôrazňuje význam vnímania celých objektov alebo foriem a navrhla rad princípov,podľa ktorých objekty usporiadavame.
Ak sa podnet skladá z dvoch zreteľne odlišných oblastí,väčšinou vnímame jeho časť ako objekt a zbytok ako pozadie.Oblasť,ktorá je vnímaná ako objekt,vnímame oveľa zreteľnejšie než pozadie. Vzťahy medzi objektami a pozadím sme schopní vnímať aj prostredníctvom iných zmyslov než len zrakom.Počujeme napríklad vtáči spev na pozadí hluku ulice alebo zvuk huslí na pozadí hry zbytku orchestru.
Vnímame nielen objekty vzhľadom k ich pozadiu,ale aj ich určité združovanie.I jednoduché vzory priamok alebo bodov sa nám pri vnímaní určitým spôsobom zoskupujú. V tvarovej psychológii je uvedená rada princípov združovania.
Jeden z nich je blízkosť- máme tendenciu združovať časti,ktoré sa nachádzajú blízko k sebe
Dotváranie - tendencia dotvárať jednotlivé časti do formy uzavretých obrazcov
Princíp neprerušeného pokračovania – tendencia združovať objekty,ktoré tvoria neprerušený obrys
Princíp podobnosti – tendencia združovať podobné objekty
Náš percepčný systém združuje do celistvého objektu také vlastnosti ako sú tvar alebo farba.Človek je schopný na jednej strane oddeľovať objekty a rysy a na druhej strane je schopný určovať vzdialenosť a pohyb objektov. Keďže boli procesy združovania skúmané predovšetkým v oblasti zrakového vnímania,rovnaké faktory združovania sa objavujú aj pri sluchu.Ako príklad môže poslúžiť princíp blízkosti,ktorý je veľmi jasne pozorovateľný:štyri údery na bubon s pauzou medzi druhým a tretím úderom sú často vnímané ako dva páry úderov.
Vnímanie vzdialenosti
Aby sme vedeli,kde sa objekt nachádza,musíme poznať jeho hĺbku. Sietnica.ktorá je podkladom nášho videnia,je dvojrozmernou štruktúrou.To znamená,že obraz na sietnici je plochý a nemá hĺbku.Táto skutočnosť viedla k vytvoreniu kľúčov k odhadu vzdialenosti.Týchto kľúčov je veľa a rôznym spôsobom pri určovaní vzdialenosti objektov sa kombinujú.Podľa toho,či sú objekty vnímané jedným alebo dvoma očami,sú kľ
úče rozdelené na monokulárne a binokulárne.Prvým z nich je relatívna veľkosť - keď sa v obraze nachádza niekoľko podobných objektov,ktoré sa navzájom líšia svojou veľkosťou, je možné považovať menšie objekty za vzdialenejšie.
Ďaľší dôležitý momokulárny kľúč využíva pohyb.Iste ste si už všimli,že pokiaľ ste sa pohybovali vysokou rýchlosťou-napríklad v rýchlo sa pohybujúcom vlaku-zdalo sa vám,že bližšie objekty sa rýchlo pohybujú opačným smerom,zatiaľ čo vzdialenejšie objekty sa pohybujú pomalšie a opačným smerom ako bližšie objekty.Rozdiel rýchlostí,ktorými sa t
ieto objekty zdanlivo pohybujú,poskytuje kľúč-pohybová paralaxaJedným z kľúčov,ktoré sú zodpovedné za vnímanie hĺbky je
binokulárna paralaxa.Uhol,pod ktorým je vnímaný ktorýkoľvek bod každým z oboch očí,sa líši. Rozdielnosť medzi obrazmi, vnímanými každým z očí, vyjadruje binokulárny rozdiel.Rovnako ako binokulárna paralaxa, tak aj binokulárny rozdiel je dôsledkom toho,že naše oči sú od seba vzdialené.Jednoduchým spôsobom si môžeme tieto kľúče demonštrovať: podržte ceruzku pred sebou vo vzdialenosti 30 centimetrov , zatvorte jedno oko a vyrovnajte ceruzku so zvyslou hranou steny pred vami. Potom toto oko otvorte a zatvorte druhé.Ceruzka sa teraz bude nachádzať na inej línii,rozdiel medzi týmito dvomi smermy tvorí binokulárnu paralaxu.Ceruzka a hrana steny,ktoré boli v jednej rovine zatvoreným jedným okom,sa od seba oddelia,pokým otvoríte druhé oko. Oddelia sa aj ich obrazy na sietnici,posun obrazov na sietnici potom tvorí binokulárny rozdiel.Vnímanie pohybu
Pohyb objektov nám nepodáva informácie o tom,kde sa objekty nachádzajú,ale tiež o tom, čo robia.Naše vnímanie pohybu je teda úzko spojené s vnímaním udalostí.Napríklad štekajúci pes, ktorý beží smerom k votrelcovi,nie je vnímaný len ako pohybujúci sa pes,ale ako udalosť “pes útočí”.
Rozpoznávanie objektov znamená jeho zaraďovanie do určitých kategórií:toto je košeľa,toto je mačka,toto je auto a toto sedmikráska…Samozrejme,že tak dokážeme rozpoznávať osoby,čo znamená pričlenenie určitého zrakového vnemu konkrétnej osobe.V každom prípade nám proces rozpoznávania umožňuje u osôb a predmetov odhaľovať mnoho skrytých vlastností objektov- pokiaľ sa jedná o košeľu,tak je vyrobená z látky a možno si ju obliecť,pokiaľ sa jedná o mačku,môže ma poškriabať,keď ju budem ťahať za chvost…Proces rozpoznávania nám teda umožňuje vyťažiť viac informácií,než bezprostredne dostávame.
Použitá literatúra: